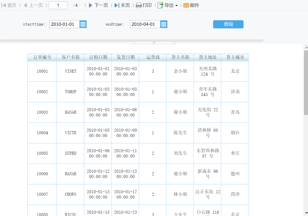
帆软有没有这样的时间范围筛选器呢?

类似这种的筛选控件

image.png

FineReport HarryWong 发布于 2023-1-3 10:16
1min目标场景问卷 立即参与
回答问题
悬赏:3 F币 + 添加悬赏
提示:增加悬赏、完善问题、追问等操作,可使您的问题被置顶,并向所有关注者发送通知
共3回答
最佳回答
0
LTC朝Lv6高级互助
发布于2023-1-3 10:17(编辑于 2023-1-3 10:19)

没有

---------------------------------------

我现在项目上也是要求这种时间选择器,所以采用的办法是前端负责筛选器样式,然后通过iframe挂载帆软的url进行访问,可以考虑一下这种方式。

  • HarryWong HarryWong(提问者) 嗯嗯,我现在项目是一整个页面都是用帆软报表进行开发,没法像你这样去单独嵌入一个报表
    2023-01-03 14:01 
最佳回答
0
Z4u3z1Lv6专家互助
发布于2023-1-3 10:17

放两个日期控件

最佳回答
0
用户6NWif5139660Lv6资深互助
发布于2023-1-3 10:18
  • 2关注人数
  • 270浏览人数
  • 最后回答于:2023-1-3 10:19
    请选择关闭问题的原因
    确定 取消
    返回顶部